
In severe accident conditions such as core meltdowns, the containment building may provide the final barrier to a significant release of fission products to the environment. During a severe accident, containment integrity may be jeopardized due to the pressurization from steam formation or non-condensable gas generation or melt through. In such conditions, a containment filtered venting system (CFVS) can relieve pressure and capture radioactive aerosols and iodine at a very high efficiency, thus mitigating the consequences of a severe accident to the environment.
The Dry Filter Method (DFM) is based on two different working principles for aerosol filtering and retention of gaseous elemental and organic iodine, respectively. Aerosols are filtered from the venting gas flow using highly efficient metal fiber filters. The filtering principle of the aerosol filter is mechanical filtering of solid or liquid particles by blocking, impaction, interception and Brownian diffusion.
Gaseous elemental and organic iodine species cannot be retained mechanically and are filtered by a special iodine filter. The filter is filled with silver doped zeolite material, a micro porous ceramic material (alumina silicate) with a high inner porosity which adsorbs the gaseous iodine by chemical sorption.
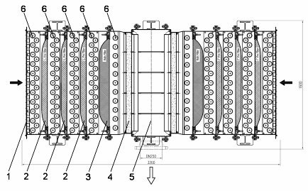
A configuration with combined aerosol and iodine filters can be installed inside the containment. This configuration keeps all filtered fission products in containment enabling access to the auxiliary building following a severe accident.

Top view of a combined aerosol / iodine filter designed for in-containment installation with two filter units in one housing.
DFM has been installed worldwide in reactors of different designs - PWR, VVER and Candu.